Magazin

Wärme, Wissen und Wohngefühl – In unserem Magazin finden Sie praxisnahe Informationen und fundiertes Wissen rund um Kamine, Öfen und moderne Heizlösungen. Ob Sie zum ersten Mal einen Kamin planen oder Ihr Wissen vertiefen möchten – hier erfahren Sie alles über Technik, Materialien, gesetzliche Vorgaben und nützliche Tipps für den Alltag mit Feuerstelle. Übersichtlich, verständlich und direkt aus der Praxis – für alle, die mehr aus ihrer Wärmequelle machen möchten.

Kamin Ratgeber – Seite 4
Edelstahlschornsteine – Eigenschaften, Montage und Pflege - ofenerlebnis.de

Edelstahlschornsteine sind Schornsteinsysteme aus rostfreiem Stahl. Sie bestehen meist aus modularen Rohrsegmenten, die zu einem Abgassystem zusammengesetzt werden. Verwendet werden sie, um Rauch- und Abgase von Heizgeräten wie Kaminen, Öfen...

Edelstahlschornsteine sind Schornsteinsysteme aus rostfreiem Stahl. Sie bestehen meist aus modularen Rohrsegmenten, die zu einem Abgassystem zusammengesetzt werden. Verwendet werden sie, um Rauch- und Abgase von Heizgeräten wie Kaminen, Öfen...

Kaminofen Abstände - welche Abstände muss ich beachten - ofenerlebnis.de

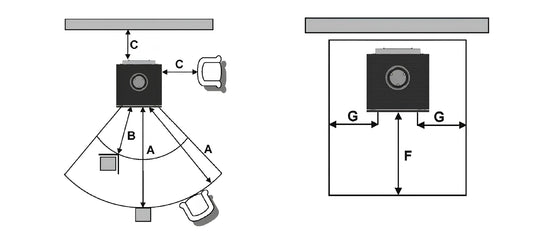
Ein Kaminofen bringt wohlige Wärme und Atmosphäre ins Zuhause, doch für eine sichere Installation müssen bestimmte Mindestabstände strikt eingehalten werden. Die Wärmeentwicklung eines Ofens kann umliegende Materialien stark aufheizen, weshalb...

Ein Kaminofen bringt wohlige Wärme und Atmosphäre ins Zuhause, doch für eine sichere Installation müssen bestimmte Mindestabstände strikt eingehalten werden. Die Wärmeentwicklung eines Ofens kann umliegende Materialien stark aufheizen, weshalb...

Wie man mit dem Holzofen Geld spart – und was der häufigste Fehler ist

Immer mehr Haushalte setzen auf den Holzofen, um Heizkosten zu senken. Holz als Brennstoff ist vergleichsweise günstig und bei nachhaltiger Forstwirtschaft erneuerbar. Doch nur mit der richtigen Technik und Handhabung...

Immer mehr Haushalte setzen auf den Holzofen, um Heizkosten zu senken. Holz als Brennstoff ist vergleichsweise günstig und bei nachhaltiger Forstwirtschaft erneuerbar. Doch nur mit der richtigen Technik und Handhabung...

Neue Kaminofen-Regeln Was ab 2025 gilt - ofenerlebnis.de

Ab dem Jahr 2025 treten in Deutschland neue Vorschriften für Kaminöfen in Kraft. Diese Regeln sind Teil der bundesweiten Bemühungen, die Luftqualität zu verbessern und die Feinstaubbelastung zu verringern. Seit...

Ab dem Jahr 2025 treten in Deutschland neue Vorschriften für Kaminöfen in Kraft. Diese Regeln sind Teil der bundesweiten Bemühungen, die Luftqualität zu verbessern und die Feinstaubbelastung zu verringern. Seit...

Welcher Kamin passt zu mir - ofenerlebnis.de

Dieser Ratgeber hilft dir, den perfekten Kamin für dein Zuhause zu finden. Wir betrachten die wichtigsten Kriterien, stellen die verschiedenen Kaminarten vor und geben dir wertvolle Tipps für die Planung...

Dieser Ratgeber hilft dir, den perfekten Kamin für dein Zuhause zu finden. Wir betrachten die wichtigsten Kriterien, stellen die verschiedenen Kaminarten vor und geben dir wertvolle Tipps für die Planung...

Heizen mit Pellets – Funktionsweise eines Pelletofen - ofenerlebnis.de

Das Heizen mit einem Pelletofen bietet viele Vorteile und vereint Komfort mit Effizienz. Holzpellets, die als Brennstoff dienen, werden aus naturbelassenem Restholz wie Sägemehl oder Hobelspänen hergestellt...

Das Heizen mit einem Pelletofen bietet viele Vorteile und vereint Komfort mit Effizienz. Holzpellets, die als Brennstoff dienen, werden aus naturbelassenem Restholz wie Sägemehl oder Hobelspänen hergestellt...